Patenty Tim Eksport, znaki towarowe, wynalazki, wzory użytkowe i przemysłowe
Zebraliśmy dane z publicznej bazy danych Urzędu Patentowego dotyczące patentów zarejestrowanych na nazwę Tim Eksport. Łączna liczba zgłoszeń rejestracyjnych patentów złożonych w Urzędzie Patentowym wynosi 2. 2 z nich jest obecnie ważnych.
Podział patentów firmowych według typu jest następujący - wzory przemysłowe: 2.
Podział patentów firmowych według typu jest następujący - wzory przemysłowe: 2.
| Obraz | Tekst | Nr. zgłoszenia | Data zgłoszenia | Status | Ważne do |
|---|---|---|---|---|---|
|
|
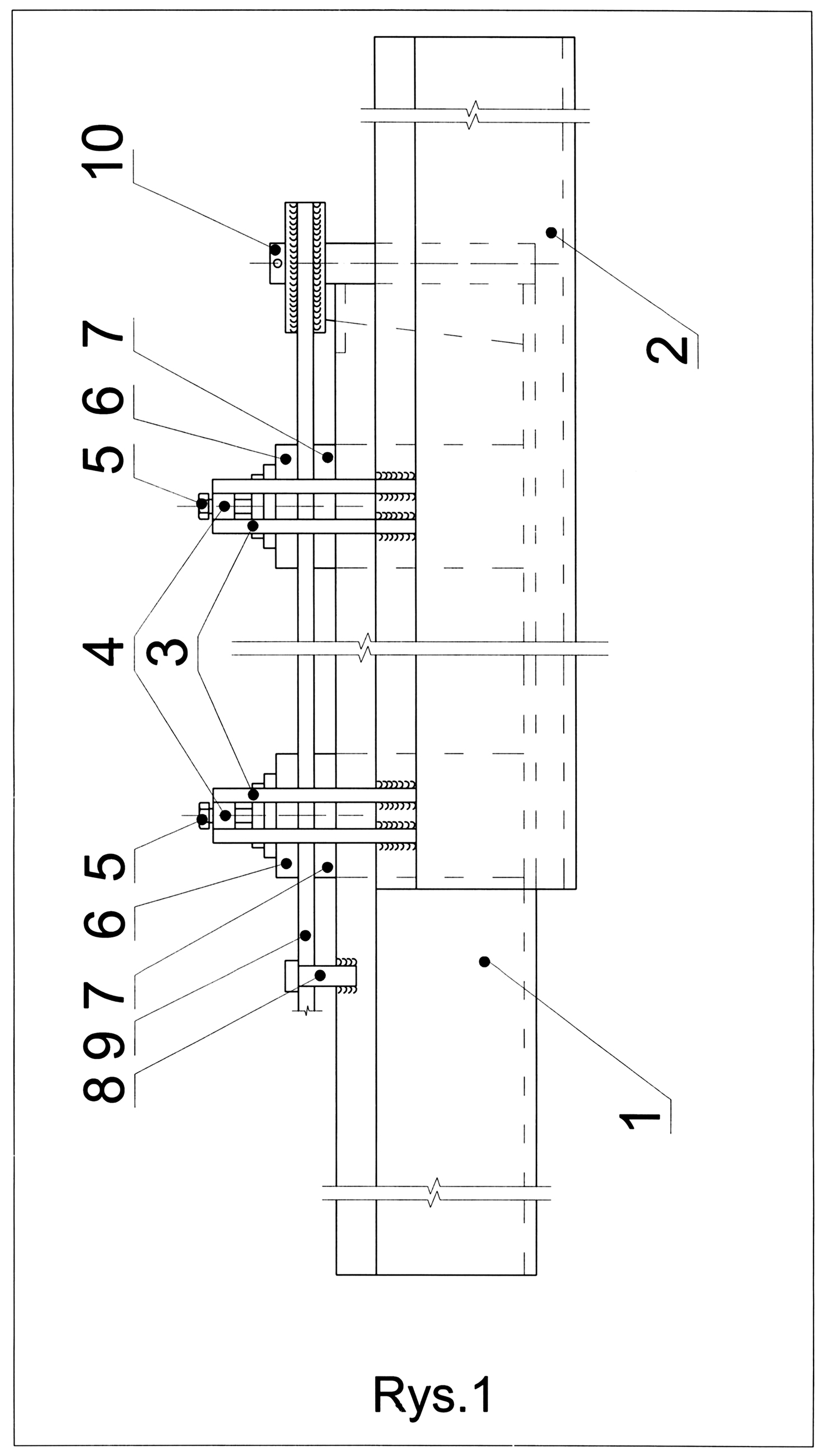
Górniczy stojak cierny | Rp.30268 | 2025-05-13 | aktywny | |
|
|
Łamacz | Rp.30050 | 2024-11-28 | aktywny |
Źródło: strona internetowa Urzędu Patentowego.
Codziennie monitorfirm.pb.pl śledzi aktualizacje Rejestru Patentowego, automatycznie łącząc te informacje z firmami wymienionymi w zgłoszeniach rejestracyjnych.
Zbieramy patenty czterech rodzajów: wynalazki, znaki towarowe, wzory użytkowe i wzory przemysłowe. Jednak nie wszystkie patenty są dodawane do naszej bazy danych; wykluczamy zgłoszenia patentowe, które istnieją tylko w postaci zeskanowanych dokumentów papierowych i nie zostały zdygitalizowane.
Codziennie monitorfirm.pb.pl śledzi aktualizacje Rejestru Patentowego, automatycznie łącząc te informacje z firmami wymienionymi w zgłoszeniach rejestracyjnych.
Zbieramy patenty czterech rodzajów: wynalazki, znaki towarowe, wzory użytkowe i wzory przemysłowe. Jednak nie wszystkie patenty są dodawane do naszej bazy danych; wykluczamy zgłoszenia patentowe, które istnieją tylko w postaci zeskanowanych dokumentów papierowych i nie zostały zdygitalizowane.
Wiadomości biznesowe, aktualności ekonomiczne, artykuły
Inne wiadomości
Atal zaczął rok z przytupem. Drugi kwartał ma być jeszcze lepszy
Zmiana na szczycie ARP. Daniel Ryczek przejmie stery po dymisji prezesa
Prezes Agencji Rozwoju Przemysłu Bartłomiej Babuśka złożył rezygnację z pełnionej funkcji. Agencja poinformowała, że powodem decyzji są "nowe wyzwania zawodowe”.
AI rekomendowała dobór portfela. Naukowcy sprawdzili, jak poszło
Moje wątpliwości wobec AI jako inwestora się potwierdziły - sztucznej inteligencji brakuje instynktu i umiejętności samodzielnego myślenia, wynika z badania amerykańskich naukowców.