Tim Eksport trademarks, inventions, industrial design patents
We've gathered data from the public database of The Patent Office regarding patents registered under the name of Tim Eksport. The total count of patent registration applications submitted to the Patent Office stands at 2. 2 of them are currently valid.
The breakdown of company patents by type is as follows - industrial designs: 2.
The breakdown of company patents by type is as follows - industrial designs: 2.
| Image | Text | Subm. No. | Reg. date | Status | Valid to |
|---|---|---|---|---|---|
|
|
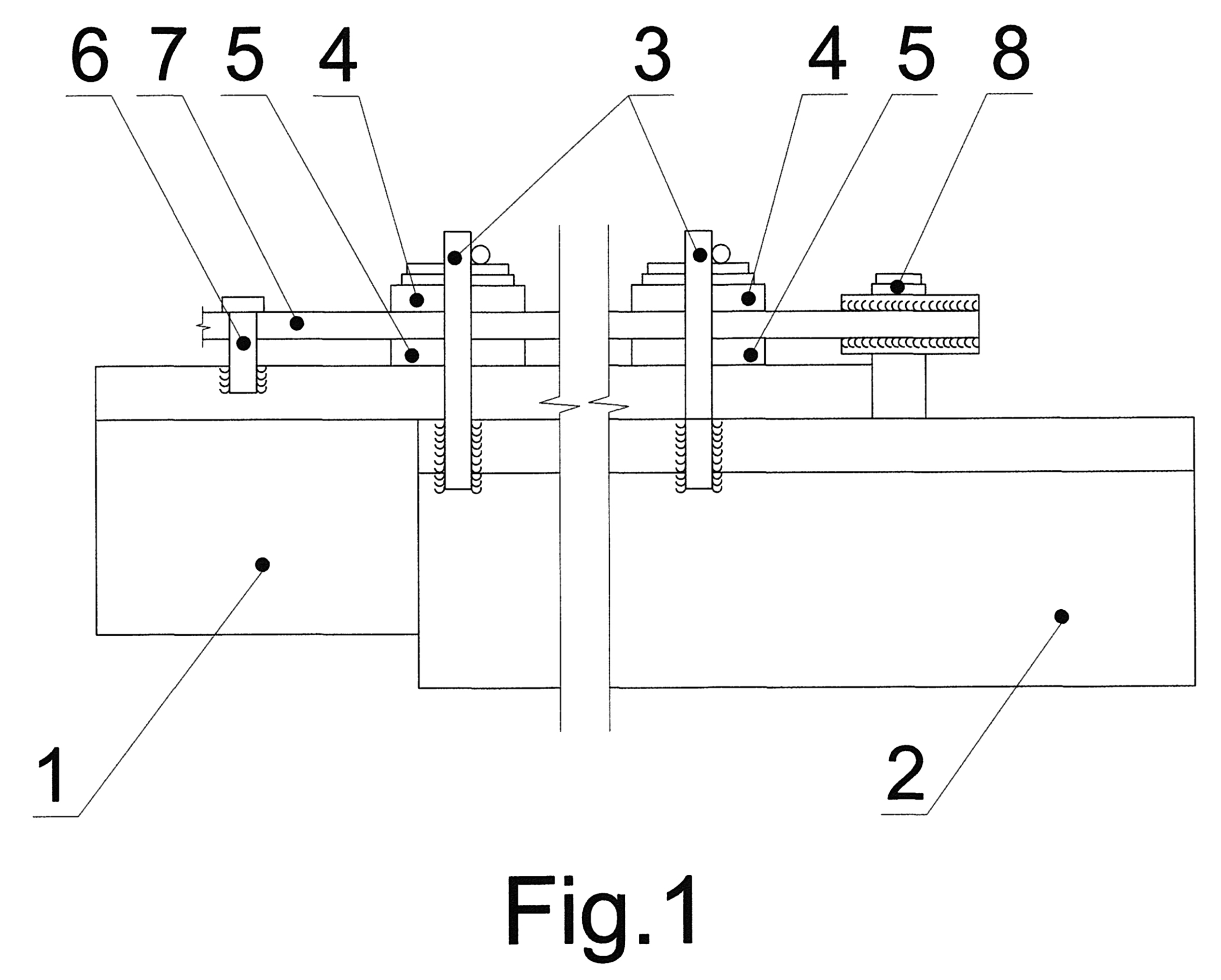
Górniczy stojak cierny | Rp.30268 | 2025-05-13 | active | |
|
|
Łamacz | Rp.30050 | 2024-11-28 | active |
Source: state Patent Office website.
Every day, monitorfirm.pb.pl tracks updates from the Patents Register, linking this information to the companies named in the registration applications automatically.
We collect patents of four types: inventions, trademarks, utility models, and industrial designs. However, not all patents are added to our database; we exclude patent applications that exist solely as scanned paper documents and have not been digitalized.
Every day, monitorfirm.pb.pl tracks updates from the Patents Register, linking this information to the companies named in the registration applications automatically.
We collect patents of four types: inventions, trademarks, utility models, and industrial designs. However, not all patents are added to our database; we exclude patent applications that exist solely as scanned paper documents and have not been digitalized.