Patenty Tech Pawel Jura Janusz Master, znaki towarowe, wynalazki, wzory użytkowe i przemysłowe
Spółka wykreślona z KRS: 2016-02-01
Zebraliśmy dane z publicznej bazy danych Urzędu Patentowego dotyczące patentów zarejestrowanych na nazwę Tech Pawel Jura Janusz Master. Łączna liczba zgłoszeń rejestracyjnych patentów złożonych w Urzędzie Patentowym wynosi 5. 1 z nich jest obecnie ważnych.
Podział patentów firmowych według typu jest następujący - wynalazki: 1, wzory przemysłowe: 4.
Podział patentów firmowych według typu jest następujący - wynalazki: 1, wzory przemysłowe: 4.
| Obraz | Tekst | Nr. zgłoszenia | Data zgłoszenia | Status | Ważne do |
|---|---|---|---|---|---|
| -- | Układ tranzystorowego mostka H | Pat.247322 | 2023-08-17 | aktywny | |
|
|
Pokrywa konsoli | Rp.21895 | 2015-04-16 | Na podstawie art. 90 ust.1 pkt 3 w związku z art. 118 ustawy z dnia 30 czerwca 2000 r. Prawo własności przemysłowej prawo z rejestracji wygasło z dniem 2020-04-16 | 2020-04-16 |
|
|
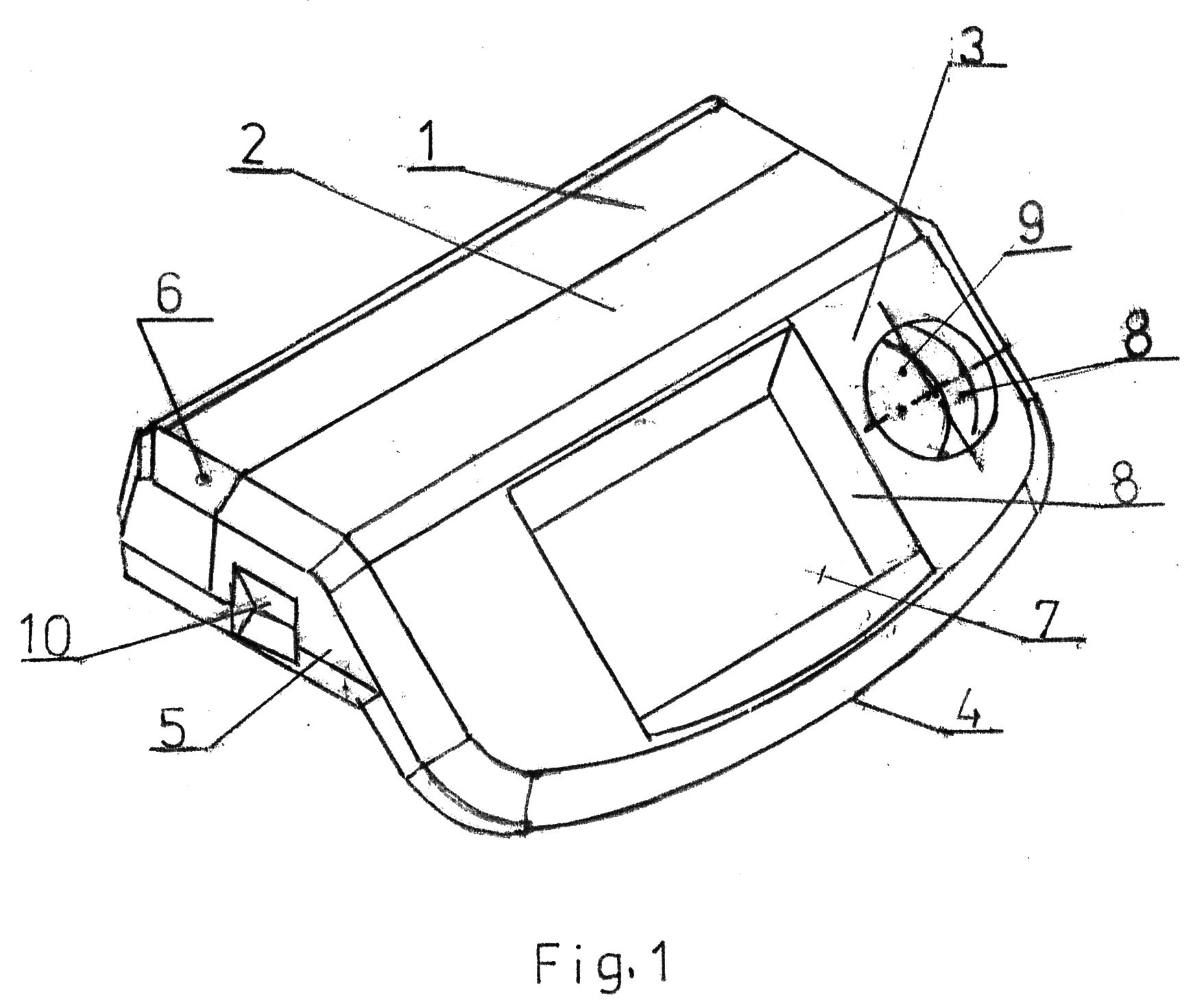
Konsola | Rp.21115 | 2014-07-07 | Na podstawie art. 90 ust.1 pkt 3 w związku z art. 118 ustawy z dnia 30 czerwca 2000 r. Prawo własności przemysłowej prawo z rejestracji wygasło z dniem 2024-07-07 | 2024-07-07 |
|
|
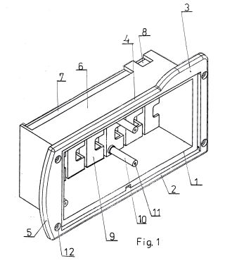
Obudowa | Rp.15890 | 2009-04-06 | Na podstawie art. 90 ust.1 pkt 3 w związku z art. 118 ustawy z dnia 30 czerwca 2000 r. Prawo własności przemysłowej prawo z rejestracji wygasło z dniem 2019-04-06 | 2019-04-06 |
|
|
Obudowa | Rp.15001 | 2009-03-16 | Na podstawie art. 90 ust.1 pkt 3 w związku z art. 118 ustawy z dnia 30 czerwca 2000 r. Prawo własności przemysłowej prawo z rejestracji wygasło z dniem 2019-03-16 | 2019-03-16 |
Źródło: strona internetowa Urzędu Patentowego.
Codziennie monitorfirm.pb.pl śledzi aktualizacje Rejestru Patentowego, automatycznie łącząc te informacje z firmami wymienionymi w zgłoszeniach rejestracyjnych.
Zbieramy patenty czterech rodzajów: wynalazki, znaki towarowe, wzory użytkowe i wzory przemysłowe. Jednak nie wszystkie patenty są dodawane do naszej bazy danych; wykluczamy zgłoszenia patentowe, które istnieją tylko w postaci zeskanowanych dokumentów papierowych i nie zostały zdygitalizowane.
Codziennie monitorfirm.pb.pl śledzi aktualizacje Rejestru Patentowego, automatycznie łącząc te informacje z firmami wymienionymi w zgłoszeniach rejestracyjnych.
Zbieramy patenty czterech rodzajów: wynalazki, znaki towarowe, wzory użytkowe i wzory przemysłowe. Jednak nie wszystkie patenty są dodawane do naszej bazy danych; wykluczamy zgłoszenia patentowe, które istnieją tylko w postaci zeskanowanych dokumentów papierowych i nie zostały zdygitalizowane.
Wiadomości biznesowe, aktualności ekonomiczne, artykuły
Inne wiadomości
Wielki powrót Misia Uszatka. Będzie można go… zjeść
Ma klapnięte uszko, kubraczek, bystre oczka i jasny pyszczek. Bohater legendarnej dobranocki powraca w nowym, jadalnym wydaniu. Prawa do czekoladowej wersji Misia Uszatka zdobyła łódzka cukiernia
Globalne PKB rośnie, bezrobocie niestety też
Według prognoz MFW globalna gospodarka powiększy się w tym roku o 3,1 proc. Pomimo wzrostu gospodarczego, w największych gospodarkach rośnie także stopa bezrobocia.
Pekabex obiecuje powrót zysków. Analitycy kręcą nosem
Budowlana grupa wpadła w poważne tarapaty, które w 2025 r. przyniosły 66 mln zł straty netto. Zarząd realizuje program naprawczy i zapowiada powrót do rentowności. Analitycy mają wątpliwości, czy to