Patenty Agrimet, znaki towarowe, wynalazki, wzory użytkowe i przemysłowe
Zebraliśmy dane z publicznej bazy danych Urzędu Patentowego dotyczące patentów zarejestrowanych na nazwę Agrimet. Łączna liczba zgłoszeń rejestracyjnych patentów złożonych w Urzędzie Patentowym wynosi 3. 2 z nich jest obecnie ważnych.
Podział patentów firmowych według typu jest następujący - wzory przemysłowe: 2, wynalazki: 1.
Podział patentów firmowych według typu jest następujący - wzory przemysłowe: 2, wynalazki: 1.
| Obraz | Tekst | Nr. zgłoszenia | Data zgłoszenia | Status | Ważne do |
|---|---|---|---|---|---|
|
|
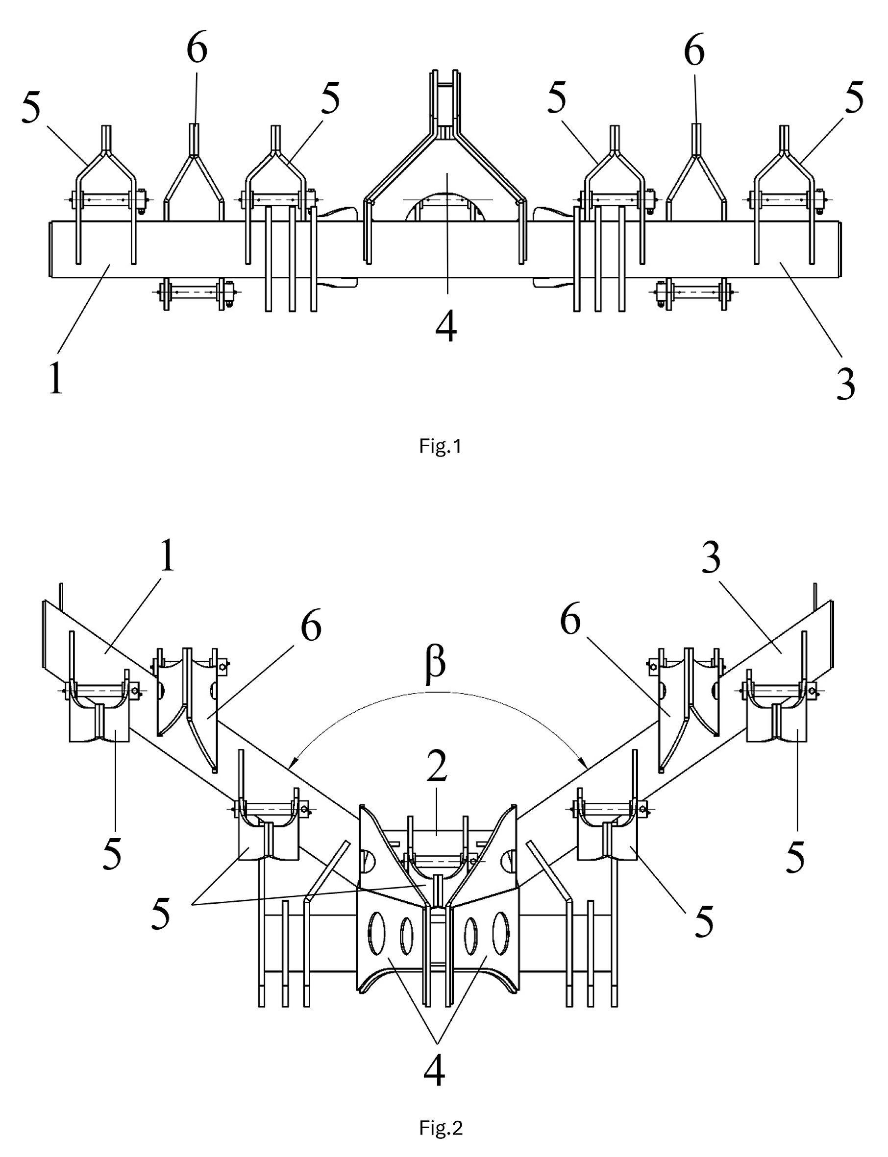
Mechanizm zabezpieczenia zęba kultywatora przed przeciążeniem | Rp.29863 | 2024-09-10 | aktywny | |
|
|
Rama głębosza podwieszanego | Rp.29830 | 2024-09-10 | aktywny | |
| -- | Urządzenie do identyfikacji obszarów o ponadnormatywnym oporze uprawianej gleby | Pat.239530 | 2019-04-08 | Na podstawie art. 90 ust. 1 pkt 3 ustawy z dnia 30 czerwca 2000 r. Prawo własności przemysłowej patent wygasł z dniem 2024-04-08 | 2024-04-08 |
Źródło: strona internetowa Urzędu Patentowego.
Codziennie monitorfirm.pb.pl śledzi aktualizacje Rejestru Patentowego, automatycznie łącząc te informacje z firmami wymienionymi w zgłoszeniach rejestracyjnych.
Zbieramy patenty czterech rodzajów: wynalazki, znaki towarowe, wzory użytkowe i wzory przemysłowe. Jednak nie wszystkie patenty są dodawane do naszej bazy danych; wykluczamy zgłoszenia patentowe, które istnieją tylko w postaci zeskanowanych dokumentów papierowych i nie zostały zdygitalizowane.
Codziennie monitorfirm.pb.pl śledzi aktualizacje Rejestru Patentowego, automatycznie łącząc te informacje z firmami wymienionymi w zgłoszeniach rejestracyjnych.
Zbieramy patenty czterech rodzajów: wynalazki, znaki towarowe, wzory użytkowe i wzory przemysłowe. Jednak nie wszystkie patenty są dodawane do naszej bazy danych; wykluczamy zgłoszenia patentowe, które istnieją tylko w postaci zeskanowanych dokumentów papierowych i nie zostały zdygitalizowane.
Wiadomości biznesowe, aktualności ekonomiczne, artykuły
Inne wiadomości
Złość może uratować ci życie, relację i godność
Czy złość naprawdę jest czymś złym? A może przeciwnie – to jedna z najważniejszych emocji, dzięki której człowiek potrafi się bronić, stawiać granice i zmieniać rzeczywistość? Na pytania odpowiada
PLK i CPK potrzebują pieniędzy z Funduszu Kolejowego. Plany krzyżuje wojna w Iranie
BM PKO BP zapowiada 12-krotne zwiększenie liczby aktywnych rachunków
Dzięki uruchomieniu OKI, czyli osobistych kont inwestycyjnych, Biuro Maklerskie PKO BP za 2,5 roku może prowadzić milion kont klientów - zapowiada jego szef Samer Masri.